点击蓝字关注
回复【免费】获取南京免费信息汇总
朋友们晚上好
南京2场大型演唱会
陈立农、老狼南京站演唱会
开票时间都定了
喜欢的朋友快冲!
后面还有南京近期新增的演唱会
看是不是你喜欢的?
时间:2026年3月21日
地点:南京市·梦之蓝青奥体育公园体育馆
开票时间:2月28日17:20
票价:520/680/880/1003/1380/1880元
购票渠道:大麦

图源:大麦,下同
小编提醒:关注【南京本地宝】公众号,后台对话框回复【演唱会】也可获取南京演唱会最新消息、购票入口等。
(*本地宝非活动主办方,不售票,仅为大家提供官方售票/预约入口!)


时间:2026年4月24日19:30
地点:南京保利大剧院
开票时间:
3月12日11:58(猫眼)
3月12日11:00(大麦)
票价:280/480/680/880/1080/1280元
购票平台:猫眼、大麦
小编提醒:关注【南京本地宝】公众号,后台对话框回复【演唱会】也可获取南京演唱会最新消息、购票入口等。
(*本地宝非活动主办方,不售票,仅为大家提供官方售票/预约入口!)

近期还有新增演唱会哦
已经发过的小编就不再重复写了
点击下方可查看
↓↓↓
时间:4月25日19:00
地点:南京奥体中心国缘V9体育馆
票价:380/580/780/980/1280元
开票时间:未定
购票平台:猫眼、大麦、票星球、携程
(*本地宝非活动主办方,不售票,仅为大家提供官方售票/预约入口!)

图源:微博
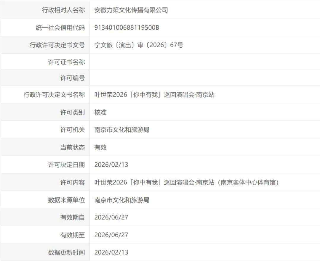
时间:6月27日
地点:南京奥体中心体育馆
◎购票平台、开票时间、门票价格暂未公布,小编会持续关注的哦,有消息就会更新在后台

图源:南京文旅

右下角,点一下👍+♥
南风工资涨1毛

推荐服务

➤可以在下方菜单栏点击微信办事,周末去哪,国补|灯会获取你想看的内容;

➤也可以在微信公众号对话框,回复相关【关键词】进行查询:
向下滑动查看更多
回复【地铁】获取南京地铁时刻表/厕所分布/建设动态等
回复【补贴】获取南京各类补贴信息汇总
回复【租房补贴】获取南京高校毕业生租房补贴申请攻略
回复【购房补贴】获取南京购房补贴政策
回复【居住证】【身份证】【失业证】即可获取对应证件办理、补办、线上申请等攻略
▌声明:本文由南京本地宝编辑整理发布,转载请注明
▌来源:猫眼、大麦、微博等,南京本地宝综合整理,文章及封面图片来源图虫网,酷吧,摄图网(已获平台授权)
▌编辑:南风(赵亚腾)
▌关于版权:如涉及侵权或对版权有疑问,请邮件联系xutong@bendibao.com删除处理
▌商务合作:微信 点击获取丨电话 400-9999-087丨QQ 4009999087



▼ 点击阅读原文,进入南京办事专栏