
家人们,谁懂啊!宝能这波在南京的操作,简直是把“暴雷”玩成了连续剧,一集比一集离谱,最后只剩满屏的可惜和吐槽!
继燕子矶宝能金融中心的开发公司破产清算后,宝能在南京的又一分公司也扛不住了,直接被申请破产审查——而对应项目,则是位于板桥的宝能翡丽河滨。咱就是说,宝能你在南京的摊子,到底打算怎么收拾?
先给大家捋捋这剧情的最新进展:
近日,南京宝能置业有限公司被江苏银行南京分行申请破产审查,案子交到了南京市雨花台区人民法院手里——

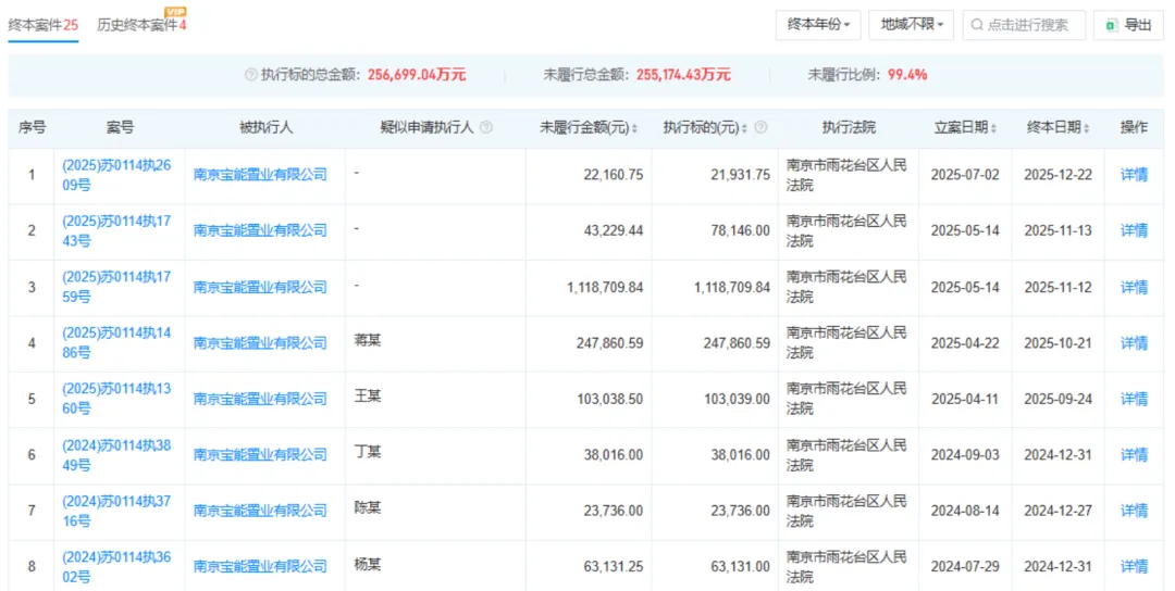
打开天眼查一看,好家伙,这公司的债务,啧啧,——被列为失信被执行人、被执行人,执行标的总金额快25.7亿,未履行的就有25.5亿多,这摊子是真够大的!
板桥的宝能翡丽河滨。说起来都是泪,这项目当年可是板桥实打实的“地王”啊!2020年4月,宝能在191轮竞拍里杀疯了,以27.1亿的最高限价拿下地块,还竞自持21200㎡租赁住房,楼面价15253元/㎡,当时有多风光,现在就有多落寞。
项目原规划14栋高层住宅+配套商业,能容纳1059户业主,多少人当年冲着“地王”的名头买的。
结果呢?宝能一暴雷,项目直接陷入停工。2024年4月,一期5栋楼延期7个月才交房,业主收房时估计都得谢天谢地;可二期9栋楼就没这么幸运了,至今没能上市,彻底停摆,好处是,没坑购房者,但是一期业主估计看着烂尾也膈应。
更离谱的是,工地大门上还贴满了电费欠费通知书,欠了一万多块,连电费都交不起——