
文 | 创客公社 江榆洁
1周内双重加码!斯坦福美女博士后苏州创业,红杉鼎晖抢着投!
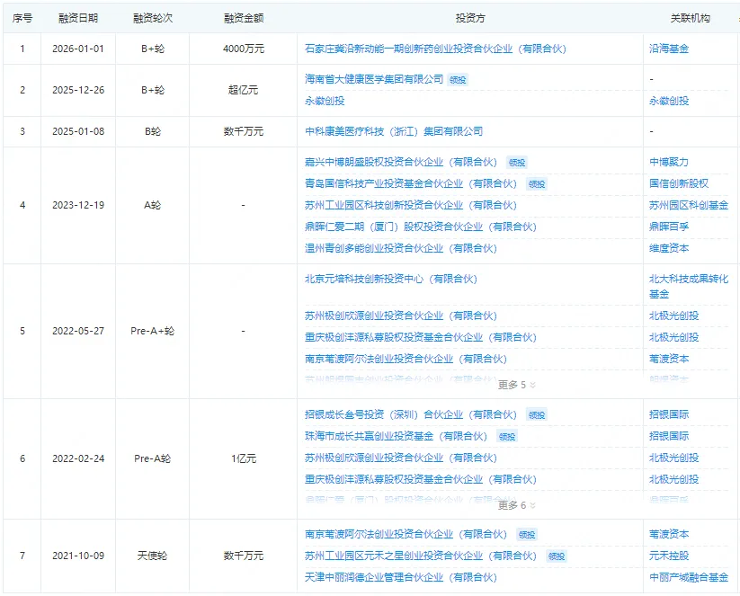
2026年1月1日,苏州血霁生物科技有限公司(以下简称“血霁生物”)在前不久宣布完成过亿元B1轮首关融资后,1周内再获数千万元人民币的B1轮股权追加融资。此次四千万元人民币投资来自新机构河北沿海产业投资基金管理有限公司旗下的冀沿新动能一期创新药基金。
血霁生物于2021年6月成立,总部位于苏州工业园区生物医药产业园,是全球第三家、中国首家专注于体外再生血小板的细胞治疗公司。
企查查显示,血霁生物成立至今已共计完成6轮融资,背后资方已汇聚红杉中国、鼎晖投资、招银国际等头部机构的投资。
在向来以“慢”著称的生物医药赛道,4年斩获6轮融资——这一速度远超行业平均的“血霁节奏”,其背后正是顶尖团队与前沿技术共同驱动的双核引擎。
而站在血霁生物生物背后的“一号人物”朱芳芳是一名“85后”美女学霸:北京大学细胞生物学博士,斯坦福大学博士后,师从“干细胞之父”Irving Weissman,聚焦血小板发育机制与临床应用的交叉领域。
在她的带领下,血霁生物已自主研发出“全球首药”——两款巨核细胞产品已经分别获得美国食品药品监督管理局(FDA)和中国食品药品监督管理局(NMPA)的新药临床试验申请(IND)的批准。据血霁生物管线开发进度,2026年将有四五个左右的新药IND的申请进入审批期。
当科技开始重塑生命的基石,一家初创企业何以在短时间内汇聚如此强大的资本与产业势能?

从北大到斯坦福
填补国内人工血小板制造空白
朱芳芳出生于1985年,温州人。她曾凭借高分成绩被保送北京大学读研,师从著名干细胞专家邓宏魁教授,研究细胞生物学。博士毕业后,她前往美国斯坦福大学。
在斯坦福大学,她师从“干细胞之父”、斯坦福大学干细胞所所长Irving Weissman教授,进行长达7年的博士后研究工作。在实验室显微镜下跳动的细胞中,她看见了中国血液供应难题的破局之路。

长期以来,血小板输注依赖献血渠道,不仅供应不稳定,还面临保存期短、运输受限等难题,让许多癌症化疗或血液病患者的治疗,不得不与时间进行一场惊险的赛跑。
正是这种随时可能断链的紧迫现实,让“在体外规模化、稳定地生产血小板”从一个科学命题,变成了一个必须攻克的生命课题。“只在实验室里写论文,很少有人能看得懂。”朱芳芳曾表示,“我们应该把论文写在祖国大地上。”
将科研成果产业化,是朱芳芳从斯坦福归国那一刻便坚定的方向。但2020年她回国后却先进入知名风投机构WI Harper Group工作了半年,负责医疗健康领域的投资。
以投资人的身份,她不仅投资了多家早期创业公司,还负责这些公司的投后管理。对于纯学术背景的朱芳芳而言,这段工作历程让她深入理解了资本市场的逻辑与产业落地的现实挑战。
2021年6月,朱芳芳正式成立血霁生物。彼时,全球只有日本和美国各有一家同类公司,中国在这一领域还是空白。
除了朱芳芳,血霁生物的核心团队也堪称“北大系精英联盟”——研发总监、副总监等关键岗位成员均为北京大学细胞生物学博士,他们分别在哈佛大学、斯坦福大学等顶尖机构完成深造,兼具国际前沿科研视野与本土产业化经验。
正是这支植根北大严谨科研传统的团队,攻克了血小板体外再生的多项技术难关,构建起独特的核心竞争力。因此,作为全球第三家、中国首家专注于体外再生血小板的细胞治疗公司,血霁生物或将掀起第二次输血革命。
在朱芳芳的带领下,血霁生物已布局输血、肿瘤、血小板疾病、运动医学、医美、抗衰老等多个疾病及领域。

凭借可预见的的市场机会、技术成熟度及未来增长表现,血霁生物在资本市场上备受瞩目,成立4年时间共计完成6轮融资,背后站着元禾控股、招银国际、北极光创投、鼎晖投资、红杉中国等明星投资机构。
据统计,血霁生物已经获得FDA授予的共计5个ODD和2个RPDD认定,为血液罕见病提供新的治疗方法。据血霁生物管线开发进度,2026年将有四五个左右的新药IND的申请进入审批期。
随着更多新药IND申请的推进,血霁生物有望在未来几年内在血液疾病治疗领域取得重要突破。值得一提的是,血霁生物已连续4年成功入选“2025江苏潜在独角兽企业”名单。

龙头企业隐形冠军比邻而居
从“产业园区”向“创新策源地”进化
血霁生物选择在苏州工业园区扎根生长,并非偶然。
放眼中国生物医药的创新地图,苏州,尤其是苏州工业园区,已成为一个具有强大磁力的产业坐标。这里不仅是一个地理上的落脚点,更是无数像血霁生物这样的创新企业实现从“实验室论文”到“生产线产品”跨越的关键生态引擎。
其吸引力,首先源于二十年来“一张蓝图绘到底”的战略定力与顶级的产业集群生态。
自2006年起,苏州工业园区便将生物医药及大健康产业列入战略性新兴产业进行重点培育。聚焦发展创新药物、高端医疗器械、大健康三大重点领域,目前这里已集聚相关企业超2000家,2024年产值达1655亿元,形成了从早期研发、临床实验到规模化生产、商业化的完整产业链。
在园区,产业链上下游、龙头企业和“专精特新”隐形冠军比邻而居,产生了强大的集聚效应和创新协同效应。
举个例子,2021年,信达生物、亚盛药业这两家直线距离不到500米的邻居“牵手”,达成2.45亿美元战略合作。近五年来,这两家明星创新药企不仅自身发展迅猛,合作渐入佳境,还带动一批产业链上下游企业集聚,形成“引进一个高端人才、带来一个创新团队、培育一个新兴产业”的链式反应,不仅极大降低了创新的协作成本,还加快了研发进程。

其次,是“懂得行业”的精准政策与全生命周期支持体系。
生物医药研发周期长、投入大、风险高,纯市场机制下,初创企业往往举步维艰。苏州工业园区深刻理解这一痛点,构建了覆盖企业全成长周期的政策“工具箱”。
2025年,《苏州工业园区加快生物医药及大健康产业腾飞行动计划(2025-2027年)》(以下简称《行动计划》)正式发布,《行动计划》中明确将支持重磅产品上市,动态遴选重点产品管线,重点支持产品临床试验、产品上市注册、产品生产产线建设和医疗机构临床试验能力提升;将支持产品推广,重点支持医疗机构使用创新药械产品,将创新药械产品纳入《苏州市生物医药及大健康产业创新名优目录》、苏惠保等。
此外,园区被纳入国家创新药临床试验审评审批试点和药品补充申请审评审批试点,能为企业缩短审评审批时限,这对争分夺秒的创新药研发至关重要。
众所周知,资本活水是企业深耕的信心源头。
苏州则在加大股权融资支持上,将强化省市区联动,加大力度对接江苏苏州生物医药产业专项母基金、苏创基金、东吴并购基金等上级资金,争取未来三年投资园区企业资金超50亿元。
强化信贷融资保障上,将加大信贷投放力度,推动商业银行提供中长期信贷产品;强化市区联动,用好试点银行股票回购增持再贷款政策工具,积极对接支持上市企业在回购、增持方面融资需求,用好苏州市生物医药管线贷专项风险补偿资金池。
这些“雪中送炭”式的政策,精准地护卫着创新火种渡过最艰难的萌芽期。
除此之外,苏州不仅通过“金鸡湖人才计划”等政策持续吸引来全球顶尖科学家和产业人才,更有懂得技术、洞察市场的专业投资机构密集驻扎。元禾控股等本土资本巨头,与红杉、鼎晖等一线风投共同构成了活跃的资本网络,他们敢于投资早期的前沿技术。
同时,苏州生物医药产业园(BioBAY)等专业载体,提供了国际一流的实验室和孵化平台。这种“顶尖人才敢创业、专业资本愿投资、专业平台能孵化”的良性循环,正是孕育独角兽的最佳土壤。
根据《行动计划》,明确到2027年,力争推动5家以上园区头部企业成长为具有国际竞争力的龙头企业、50家以上地标企业成长为细分领域领军企业、100个重磅产品年度销售额超亿元、100个重点产品管线获批上市,目标是持续巩固具有国际影响力的产业高地领先优势。
看得出来,苏州的野心不止于聚集企业,更在于定义产业高度。苏州正在从“产业园区”向“创新策源地”进化。
透过血霁生物的故事,从美国斯坦福大学的实验室,到苏州工业园区的研发中心,朱芳芳带领的血霁生物正在描绘一幅人工造血的新蓝图,而苏州这片生物医药的沃土,或许正是这幅蓝图最完美的画布。
在苏州,前沿科技的理想与产业现实的土壤深度融合,共同指向了一个更具竞争力与生命力的健康未来。
苏州血霁生物科技有限公司:《血霁生物1周内再获数千万元B1追加投资》
动脉网:《【首发】血霁生物完成过亿元B1轮股权融资首关和过亿元债权融资》
北大青年CEO俱乐部:《融资速递 | 校友企业血霁生物完成超亿元 B1 轮融资,北大博士团队打造 “体外造血” 新范式》
兰州大学校友会:《兰大校友朱芳芳:创立国内首家血小板体外再生产业化公司,不到3年融资4轮》
苏州市医药行业协会:《《新华日报》头版关注园区:比邻“牵手”串起千亿产业》

*抢占产业未来,与顶尖智慧同行*

不止于课堂——你将直面院士团队与“姚班”顶尖人才,获得量身定制的智力支持。
✅ 收获:系统性认知跃迁,绘制企业专属AI转型路线图。
2/ 产业顶流 · 名企共创实战
不止于参访——深入标杆企业核心场景,与雷军、王兴兴等创始人零距离对话,探索合作可能。
✅ 收获:汲取前沿落地经验,捕捉AI+产业融合的关键机会。
3/ 投资顶流 · 锁定《赢在AI+》
不止于项目——这里是经过严格筛选的AI领域高潜力项目库,汇聚赛道新贵与变革者。
✅ 收获:直连优质AI投资标的与潜在战略合作伙伴。
4/ 生态顶流 · 融入“AI百人会”
不止于一期课程——毕业后持续融入顶级AI圈层,与同行者共拓边界。
✅ 收获:长期活跃的实战社群,汇聚领域顶尖人脉与校友资源。

我们正在寻找这样的您:
🔹 渴望用AI重构企业竞争力的青年企业家、决策者
🔹 不愿错过AI革命带来的产业新浪潮
🔹 期待与顶尖大脑同行,共创下一站未来
行动即未来!
立即报名,开启您的AI领导力进化之旅
3、本文章内容如无意中侵犯了媒体或个人的知识产权,请联系我们立即删除,联系方式:13770773618

欢|迎|联|系
文稿相关问题反馈,请联系:zhangtianyi0510
商务合作,请联系:zhangtianyi0510
加入城市读者群,请联系:chuang-ke-jun
文章转载,请后台留言或联系:chuang-ke-jun




创|客|记





