最近,京东资产上架22套悦东府的法拍房,起拍总价集中在41万-58万。按照建面约89-115㎡的面积计算,起拍单价约4600-5000元/㎡。事实上,今年1月这22套房源就现身京东资产,起拍总价52万-71万。只是,降价也没能改变流拍的命运。二拍结果显示,这22套房源,均以流拍收场。2019年4月,正荣以8478元/㎡的楼面地价拿下G09地块(悦东府),要求自持面积7800㎡,明确100%全装修和成品交付。悦东府规划12栋小高层以及10栋高层住宅楼,自带沿街商业配套,建面约79、89、98、118㎡,总户数1700余套。2019年10月至2020年6月,B地块的11栋不到900套房率先开卖,装修销许均价1.56万-1.85万/㎡不等;2020年9月至11月,加推A地块3栋楼,共194套房,均价约1.7万-2万/㎡。

南京网上房地产显示,悦东府入网总套数为1066套,未售套数220套。
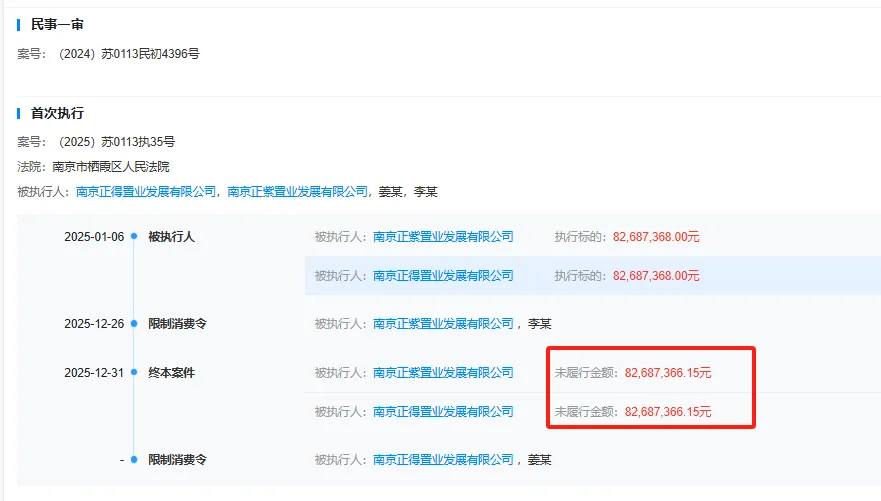
正荣暴雷后,悦东府延迟交付,B地块最迟交付时间为2022年6月,实际交付时间为2022年10月。此次被拍卖的22套房源,分布在1栋、3栋、5栋和13栋,多为顶底楼房源,全装修交付,没有入住痕迹。值得注意的是,因为潮湿等原因,部分低楼层房源的白墙出现墙皮脱落情况;部分房源内部,有少量的装修垃圾。结合裁定书内容以及天眼查显示的信息,这22套房源被拍卖的原因很清晰。申请执行人,为中建二局第二建筑工程有限公司,被执行人为南京正紫置业发展有限公司、南京正得置业发展有限公司,因建设工程施工合同纠纷一案,南京市栖霞区人民法院作出(2025)苏0113执35号执行案件,执行金额约8268.74万。
而悦东府,正是南京正紫置业发展有限公司的名下资产。
除了此次拍卖的房源,悦东府未成交房源主要分布在A地块的11栋楼,正荣暴雷后便烂尾至今。
02
2018年6月,经过2轮竞价,中骏置业拿下G22地块(中骏东原璟阅),楼面价6369元/㎡。彼时的龙潭仅创源龙樾一家新盘在售,毛坯均价1.7万/㎡。2019年,龙潭在土地市场集中出货,正荣、荣盛、华夏幸福等房企扎堆抢地,多幅地块高溢价成交。同日出让G09(正荣悦东府)和G10(荣盛花语馨城),楼面价分别为8478和8452元/㎡,要求自持面积7800㎡和2200㎡;华夏幸福高调进驻,接连拿下G24(滨江孔雀城)与G42(滨江孔雀城栖澜府)。至此,龙潭楼市格局基本形成。虽然主力楼盘只有6个,但每个项目的体量都不小,整体新房储备高达6800余套。产品定位上,6家楼盘的主力户型集中在建面约75-120㎡,主打小户型、低总价,产品同质化严重,精装价约1.6万-1.8万/㎡,部分房源销许价近2万/㎡。2021年行情冷淡,龙潭楼市变天,降价打折成主流。更严峻的是,正荣、荣盛、华夏幸福等接连暴雷,不少项目延期交付。滨江孔雀城栖澜府、悦东府A地块、荣盛花语馨城二期,按下建设的暂停键。以公开网站的数据为参考,锐评君整理出主流小区的二手房情况。正荣悦东府在售房源较多,同期52套挂牌,均价约9306元/㎡,区间5709-14496元/㎡。去年2月,悦东府成交一套建面约89㎡房源,总价99万、单价11103元/㎡。一期挂牌均价约7913元/㎡,最近成交的一套为去年12月,成交约5480元/㎡;二期、三期挂牌单价分别约7751元/㎡、8845元/㎡,尚未有房源成交。荣盛花语馨城,房源挂牌均价约8565元/㎡,目前显示无房源成交。滨江孔雀城目前有13套房源在售,挂牌均价约10121元/㎡,尚未显示有房源成交。市场冷静期,没有强势利好支撑的远郊板块首当其冲,龙潭新城就是典型。地段上,龙潭新城位于栖霞区东北部,临近栖霞山与句容宝华,内部置业需求有限,偏远的地理位置又很难吸引到外围买房人。而配套上,交通、商业等并不完善。对于年轻自住买家来说,上班通勤、日常生活等称不上便利。最受关注的轨道交通,在建中的地铁S5号线(南京段)传来捷报,仙林湖站至摄山站高架区间主体结构顺利落成。地铁S5号线,是宁镇扬一体化的重点工程,线路全长约57.8公里,设有车站16座,其中南京段有8站,扬州段有8站,连接南京仙林湖与扬州火车站,可在仙林湖站换乘4号线。商业利好也即将到来,龙潭新城商业综合体总投资约5亿元、总建筑面积近7万㎡,集购物、餐饮、生活服务、酒店住宿、大型宴会及展会等多功能于一体,计划于2027年10月开业。据了解,地下一层将引进商超,并配备466个停车位;一楼集聚各类时尚品牌;二楼布局儿童乐园、早教中心及电竞体验区;三楼汇聚各类餐饮;四楼规划800人宴会厅和多功能会议中心;还将开设龙潭首家经营性影院,诞生“龙潭第一块大银幕”。
我们希望,随着越来越多城建利好的到来,龙潭楼市也能迎来新的机遇。