
2026年1月29日,国产智能基座方案提供商润芯微科技(RIVOTEK)正式宣布完成近4亿元B+轮融资。本轮融资由重庆长嘉纵横私募股权投资基金、恒旭资本、江苏省战新基金、苏州高铁新城国控等多家国资及产业资本联合参与。
此次融资是润芯微科技成立五年来的又一重要里程碑,也是2026年开年以来国内数字基座领域最大规模的融资之一。
融资完成后,润芯微科技将重点投入国产计算平台解决方案迭代升级、AI操作系统演进、端侧AI模型开发等核心技术突破,进一步夯实公司全栈式技术体系的核心竞争力。
在全球化供应链不确定性增加、中国科技产业自主化诉求空前强烈的背景下,国有资本对润芯微科技的投资已远超财务投资范畴,而是围绕硬科技关键环节进行的战略布局。
润芯微科技董事长刘青表示,公司将以此次融资为契机,持续聚焦于打造领先的国产芯片全栈式自研软硬一体化智能基座,以“让智能变成可能”为使命,与更多生态合作伙伴携手,陪伴更多中国领先智能终端应用企业开展持续的全球创新,进一步助力中国产业链自主自研及可控。
一位参与此轮投资的产业资本方直言:“随着AI时代的到来,端侧对‘芯片+操作系统+AI模型’一体化能力的要求日益提高,润芯微正是少数能提供平台级整体解决方案的企业之一。” 其“中立产业连接器”的定位,有效填补了芯片设计厂、终端整机厂和算法公司之间的协同鸿沟,这正是其稀缺价值的核心。润芯微科技的成立与发展,与创始人刘青的行业积淀和战略眼光密不可分。刘青是江苏徐州沛县人,曾在富士康、英特尔、润和软件等多家科技企业工作,深耕手机行业近二十年,积累了千人级软件团队的管理经验。
在创立润芯微之前,刘青在一家上市公司担任副总裁,带领上千人的团队负责操作系统的开发。
刘青深知原来行业的天花板——单纯做手机操作系统,价值空间有限,在移动互联网红利见顶后,真正的产业变革将发生在硬件与底层软件的深度融合处。

润芯微科技董事长刘青
刘青毅然辞掉上市公司副总裁的高薪职位,全身心投入创业,牵头组建团队成立润芯微科技,致力于破解国产芯片落地“最后一公里”难题,打造自主可控的国产数字基座,填补国内“芯片+操作系统+AI”全栈解决方案的市场空白。
他们从服务小米、OPPO、vivo等头部手机厂商起步,在极致严苛的亿级出货量标准和快速迭代需求中,锤炼出了深厚的底层软件工程能力和系统级优化能力。
2020年,“软件定义汽车”的浪潮刚刚兴起,她看到了一个更大的市场,智能座舱成为新的战场。
在刘青的带领下,润芯微科技从300人的规模,成长为近2000人的高效、复合型、高战斗力的研发团队。三年时间,研发总投入达到3.6亿元,重点产品和技术研究立项60多个。
这种“千锤百炼”的工程化能力,构成了润芯微的第一道护城河。新股东重庆长嘉纵横基金评价道:“这种经过实战锤炼的基础能力,让润芯微在进入汽车电子、机器人等新领域后具备了降维打击的优势。”
成立初期,公司聚焦智能终端领域,依托核心团队的技术积累,重点研发智能终端操作系统与芯片适配方案,破解国产芯片与智能终端的适配难题。这一阶段,公司主要为手机、平板等智能终端提供操作系统优化与软件解决方案,凭借稳定的产品性能与高效的交付能力,成功切入小米、OPPO、vivo等头部智能终端企业的供应链,实现了产品的初步落地,同时积累了丰富的工程交付经验与技术沉淀,为后续的产品升级奠定了基础。在此期间,公司还建立了首个影像实验室,开展汽车ADAS影像算法开发和测试业务,为后续切入汽车电子领域埋下伏笔。
随着技术实力的不断提升,公司逐步拓展产品边界,从智能终端领域延伸至智能汽车、AIoT等领域,推出“芯片+操作系统+AI模型”一体化解决方案,同时建立智能终端大客户ODC(离岸开发中心),深化与头部客户的合作。在智能汽车领域,公司聚焦智能座舱方向,提供端到端的软件配套服务,包括车内分布式计算和车内数据面与控制面系统融合的软件解决方案,以及规模化的持续开发、集成、测试服务,成功定点及配套多家车企核心车型;在AIoT领域,公司推出适配物联网设备的轻量化操作系统与AI模型,覆盖智能家居、机器人等场景,实现产品的多场景落地。2023年,公司营收达到4.53亿元,实现了规模化盈利。
根据刘青的规划,启航操作系统的发展分为三个阶段:1.0阶段(现在至2025年1月)实现手机与车互联和车家互联的核心功能;2.0阶段(2025年2月至2026年2月)升级泛连接功能,连接更多设备;3.0阶段(2026年及以后)系统将升级为一个无限接近智慧内生的物联网操作系统。
近期,润芯微科技发布了 “1+6+N”创新战略,打造以“知芯·国产计算平台”“知微·AI OS”“知润·端侧模型”为核心的国产AI智能基座。
其中,“1”指以“知芯·国产计算平台”“知微·AI OS”“知润·端侧模型”为核心的国产AI智能基座;“6”指聚焦移动端、车端、机器人、AIoT、PC端、Cloud六大核心赛道,深化与行业头部企业的生态协同;“N”指通过办公、出行、家居、工业、大健康等“N”大场景延伸,持续拓展业务边界。目前,公司产品已形成四大核心板块:智能汽车板块(核心战略业务),涵盖智能座舱硬件、启航操作系统、配套解决方案等,已在多家大型车企的多个车型实现量产上车;智能终端板块(基础盘业务),为手机、平板、智能手表等提供操作系统和软件解决方案,是公司现金流的支柱板块;机器人板块与智能家居板块,聚焦新兴场景,逐步实现规模化落地,成为公司未来增长的新动力。
根据润芯微科技的规划,到2026年,将完成启航操作系统1.0至3.0版本的迭代发展路径,届时,将有上千体量的软硬件生态接入,成为无限接近智慧内生的物联网操作系统。
润芯微科技自成立以来,以每年50%以上的业绩增长率快速发展,并受到上汽、北汽、东风、广汽等主机厂的价值认同。
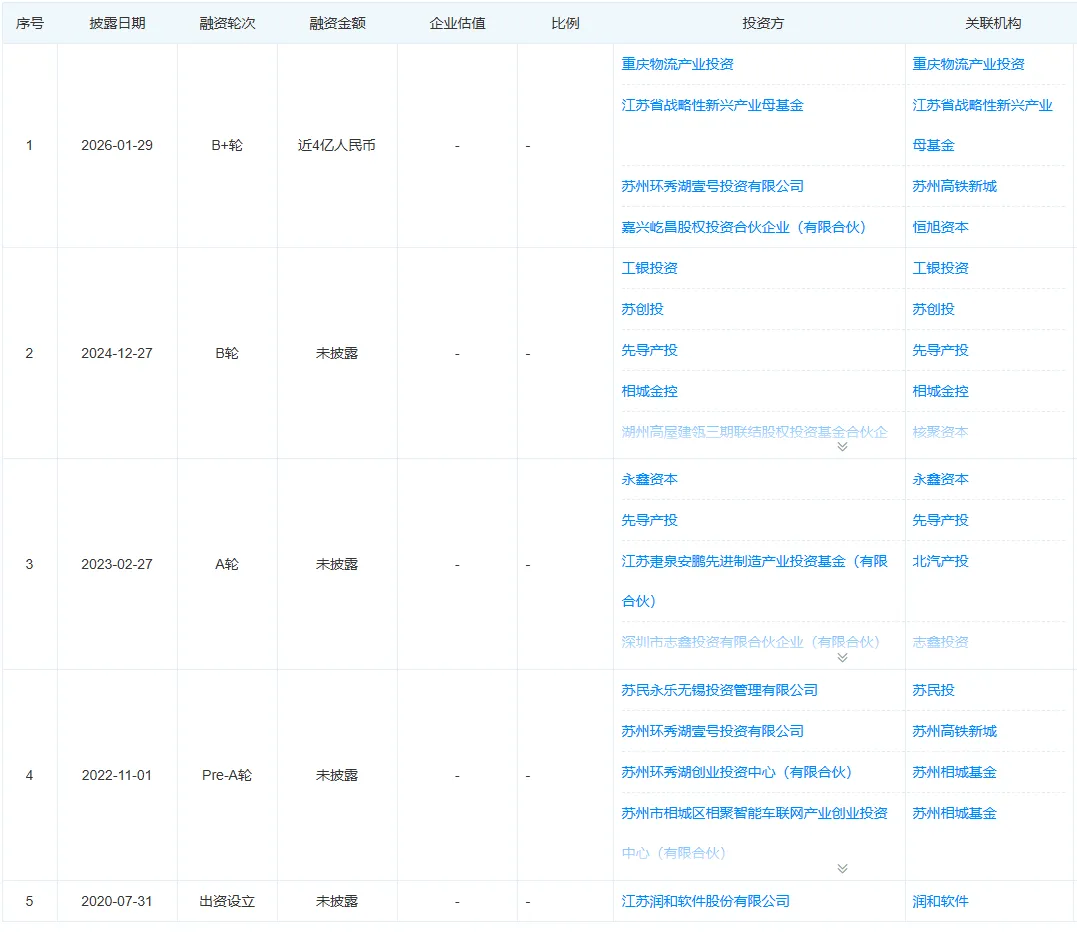
自2020年成立以来,公司凭借扎实的技术实力、清晰的产品路径与广阔的市场前景,先后获得7轮融资,多轮融资为亿元级别,投资方涵盖国资机构、产业资本等,融资规模持续扩大,企业估值稳步提升,逐步成为国产数字基座领域的资本宠儿。
来源:天眼查
2020年7月31日润和软件出资设立了润芯微科技。
2023年2月润芯微科技完成了A轮融资,投资方包括北汽产投、永鑫资本、先导产投等。
2024年12月润芯微科技完成B轮融资,投资方包括先导产投、核聚资本及相城金控。本轮融资资金将主要用于加速推进公司智能座舱软硬件平台、智能驾驶等产品的研发,以及量产产线的投资建设。
2026年1月29日,国产智能基座方案提供商润芯微科技(RIVOTEK)正式宣布完成近4亿元B+轮融资。本轮融资由重庆长嘉纵横私募股权投资基金、恒旭资本、江苏省环保集团、江苏省战新基金、苏州高铁新城国控、杭州拱墅产投等多家国资及产业资本共同参与,所募资金将重点用于国产计算平台解决方案迭代升级、AI操作系统演进、端侧AI模型开发等核心技术突破,进一步夯实公司全栈式技术体系的核心竞争力。核聚资本董事长何宁指出:智能汽车正在多个方向展现出与智能手机的相似路径。软件在汽车上的价值量将不断提升。润芯微核心团队深耕智能终端和嵌入式软件领域十年以上,具备嵌入式软件相关的全栈技术能力,公司将智能终端技术能力高效复用至智能汽车和IoT领域,不断获得商业落地和客户认可。
智能化数字底座是支撑数字经济发展的核心基础设施,涵盖芯片、操作系统、数据库、中间件、AI模型等核心组件,是连接硬件设备与上层应用的关键枢纽,广泛应用于智能终端、智能汽车、AIoT、工业互联网等多个领域。
根据中国信息通信研究院(CAICT)于2025年1月发布的《中国人工智能基础设施发展白皮书(2024)》数据显示,截至2024年底,中国基座市场(即大模型基础平台及底层算力基础设施市场)整体规模达到约1850亿元人民币,同比增长37.6%,其中硬件基础设施(包括AI芯片、服务器、存储设备等)占据主导地位,占比约为58.3%;软件与平台服务(涵盖大模型训练框架、推理引擎、MLOps工具链等)占比为29.1%;而以数据标注、模型微调、安全合规等为代表的配套服务则占12.6%。预计到2026年,我国智能化数字底座市场规模将突破3000亿元,年复合增长率维持在35%以上,成为数字经济发展的重要增长极。
随着汽车智能化、工业数字化浪潮的持续推进,以及国家对于信创产业和供应链安全的高度重视,作为智能硬件“心脏”与“神经中枢”的基座技术,其战略价值日益凸显。
润芯微科技在芯片、操作系统及AI应用等核心技术方面具备全链路研发与调优能力,能够破解国产芯片与智能硬件落地量产的“最后一公里”难题,推动国产芯片在汽车、机器人等关键领域的规模化应用。
从行业视角看,润芯微科技的此番进阶,是中国硬科技企业在智能时代底层技术赛道持续发力、并成功汇聚国家战略资源的一个生动缩影。它不仅预示着公司自身将迈向产品矩阵更完善、市场覆盖更广泛的新台阶,也代表着中国在构建自主可控的智能计算基础体系道路上,又增添了一支坚实而核心的力量。
润芯微的故事,是一场关于技术纵深、产业协同与资本耐心的长跑,而发令枪响,我们刚刚见证了一个有力的起跑。